一、功能概述
本插件只提供收集学员开票申请信息的功能,未对接相关开票系统,所有开票操作都需线下进行。
二、前台-我的发票
1、可开票订单;
只有满足以下条件的订单才会出现在这里:
- 订单的状态为“交易成功”,或使用现金支付的虚拟币充值记录;
- 实付现金大于0;
- 非“已开票”或“开票中”的订单;
- 该订单交易成功的时间没有超过开票时效(开票时效由网校在后台自定义)。
“交易成功”的订单中,只有现金支付的金额可申请开票,例如一个100元的订单,50元是虚拟币支付,50元是现金支付,那么此订单只有50元可开发票。
支持合并订单开票,先批量勾选订单,再点击“申请开票”按钮,填写表单提交后,就完成了发票申请流程,等待网校管理员处理即可。支持申请的发票类型由网校在后台设置。
2、发票记录;
这里展示了用户提交过的发票申请记录,其中发票申请号是本系统为此发票申请记录生成的唯一序列号。
不同状态的发票所展现的发票详情略有不同。
- 待开票:展示发票的基本信息;
- 已开票:在待开票的基础上,会多出发票号码、快递平台和快递单号等信息。
- 已拒绝:在待开票的基础上,会多出拒绝原因。
三、后台-发票管理
1、今日数据
展示当前未处理的开票申请数量。

2、发票设置

- 启用发票:安装发票插件后,“启用发票”默认处于关闭状态,需在此开启;
- 可提供发票类型:由网校根据实际情况进行选择;
- 开票时效:用户交易成功后,对应时间段内才可申请开票。交易成功时间与用户付款时间会相差一个可退款时间。
- 纸质发票邮费设置:共货到付款、满额包邮以及包邮三种类型。其中满额包邮需要设置包邮金额,当用户的发票金额达到一定数额时可包邮寄送,未达到包邮金额时需货到付款。
- 发票内容:由网校管理员统一填写,用于提示用户。实际填写什么发票内容,可根据用户的真实需求进行变动。
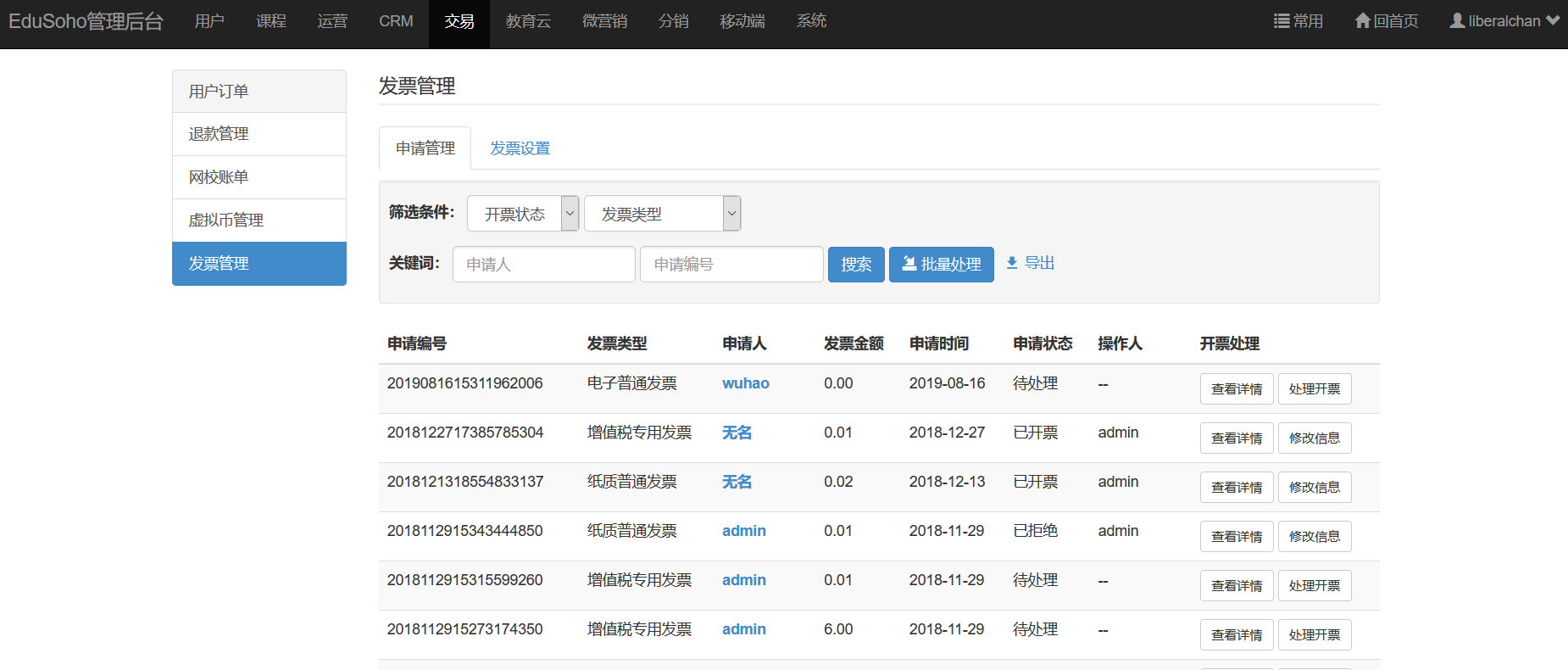
3、发票记录

这里展示了所有用户提交的发票申请记录,一些操作说明如下:
- 查看详情:与学员端查看详情的逻辑一致。
- 处理开票:对单个“待开票”状态的发票进行处理,如果是通过状态,则发票号码必填;如果是拒绝状态,则拒绝原因必填。对于已开票的订单,则用户不得再次申请开票;对于拒绝开票的订单,系统将会释放给用户重新申请开票。
- 修改信息:“已开票”状态可修改状态及发票号码等信息;“已拒绝”状态的发票只能修改拒绝原因。
- 导出:先筛选出“待开票”状态的开票申请,再进行导出,然后交给相关人员进行线下开票操作。
- 批量处理:对“待开票”状态的订单进行批量处理。线下开票完成后,可填写批量处理模板,然后导入到系统中,即可批量处理开票申请。注:批量处理不可对“已开票”和“已拒绝”状态的订单进行修改。

