一、功能简介
用户信息采集可自定义设置排序采集信息,包括手机号、微信号、姓名等联系方式以及个性化用户信息,清晰刻画用户画像。
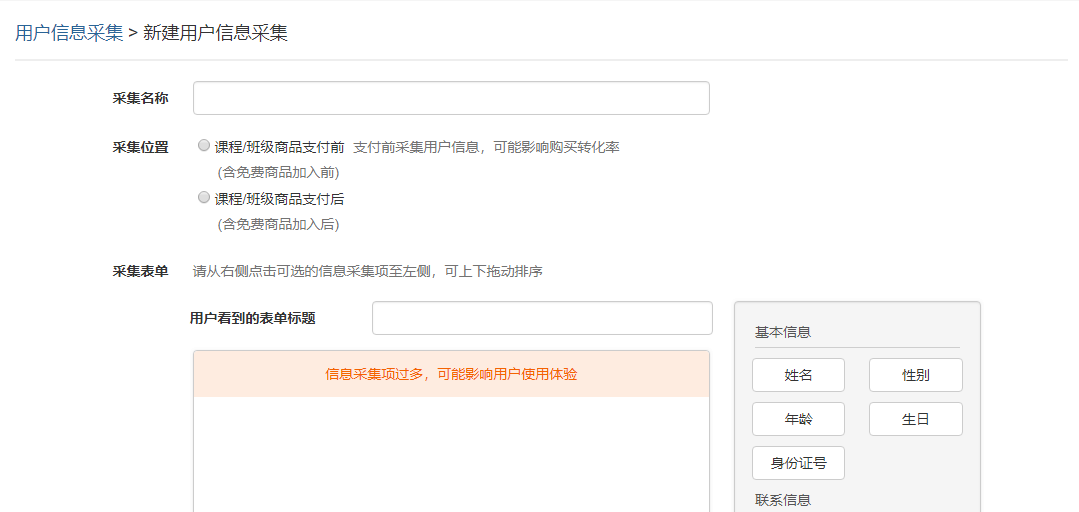
目前支持采集以下字段:
①基本信息:姓名、性别、年龄、生日、身份证号(仅支持中国大陆)
②联系信息:手机号码(仅支持中国大陆)、微信号、QQ号、微博号、Email、省市区县、详细地址
③公司信息:职业、公司、职业
④学校信息:学校、年级、班级
⑤其他信息:国家、语言、兴趣
二、如何创建信息采集
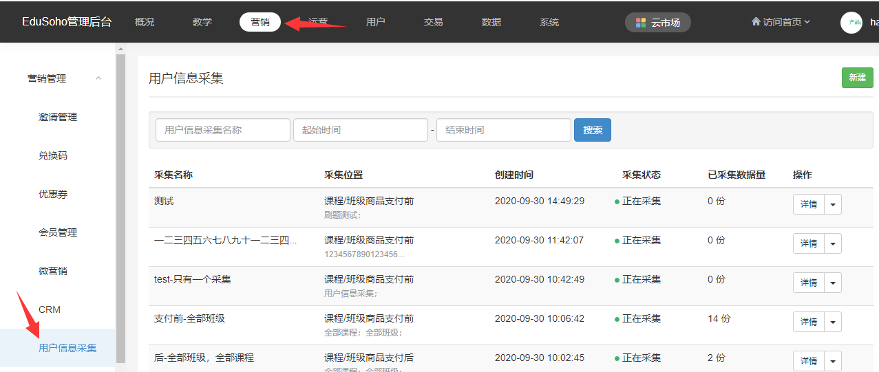
操作路径:【管理后台】-【营销】-【用户信息采集】
用户信息采集列表页,可以看到信息采集名称、采集位置、创建时间、采集状态、已采集数据量;
支持输入用户信息采集名称(支持模糊搜索)和创建时间区间搜索;
已采集数据量,可以看到采集实时数据;
操作支持:详情、编辑、关闭/开启采集。
点击右上角【新建】,创建一个新的【用户信息采集】事件。
点击提交后就可以在用户信息采集列表页查看对应内容。
注:(1)一个信息采集事件可应用在多个商品上,一个商品唯一支持一个指定和一个全站采集事件。
(2)一个课程出现的事件位置有以下几个位置:指定课程支付前(加入前)、指定课程支付后(加入后)、全站课程支付前(加入前)、全站课程支付后(加入后)。
(3)对于已关联到其他指定采集事件的商品,可以在当前数据查看冲突的管理事件,也可关联到本次采集(之前已关联采集事件解绑),还可移出本次采集(之前已关联采集事件不做更改)。
(4)当已经有采集事件选择了全部课程/全部班级时,添加采集事件不可再选择全部课程/全部班级,相关选项灰色不可选,提示已关联其他采集事件,可替换查看其详情。
信息采集列表页点击采集事件右侧详情,可查看目前信息采集的具体内容。
三、学员端显示(支付前采集用户信息)
PC端页面显示
学员在课程/班级详情页-购买课程/班级-课程/班级订单结算页,需要填写信息采集。
点击信息采集填写采集表中需采集的信息。
如未填写对应采集信息,则会提示“请先提交信息后再提交订单”。
新版微网校页面显示
学员在课程/班级详情页-购买课程/班级-课程/班级订单结算页,需要填写信息采集。
点击信息采集填写采集表中需采集的信息。
如未填写对应采集信息,则会提示“请先提交信息后再提交订单”。
四、学员端显示(支付后采集用户信息)
PC端页面显示
学员加入课程/班级成功或支付成功后,即将跳转至已加入的课程/班级页时,会在页面显示信息采集表单(支付后采集信息可选择关闭跳过)。
新版微网校页面显示
学员加入课程/班级成功或支付成功后,即将跳转至已加入的课程/班级页时,会在页面显示信息采集表单(支付后采集信息可选择关闭跳过)。

